Βασική Θεωρία Εργαστηρίου
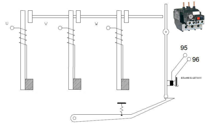
1. ΗΛΕΚΤΡΟΝΟΜΟΙ 1.1 . Χρησιμότητα Ηλεκτρονόμων Με τους ηλεκτρονόμους μπορούμε να ελέγξουμε τη ροή μεγάλων ποσοτήτων ηλεκτρικής ισχύος σε ένα ηλεκτρικό κύκλωμα χρησιμοποιώντας μια πολύ μικρή ισχύ για τη λειτουργία των ηλεκτρονόμων . Η δυνατότητα αυτή αποκτά ιδιαίτερη σημασία όταν ο χειρισμός του ηλεκτρονόμου γίνεται από απόσταση (τηλεχειρισμός ). 1. 2 . Βασικά μέρη ηλεκτρονόμου 1.3 . Λειτουργία ηλεκτρονόμων με ηλεκτρομαγνήτη Όταν το πηνίο του ηλεκτρονόμου δεν διαρρέεται από ρεύμα ο ηλεκτρονόμος είναι αποδιεγερμένος (κατάσταση ηρεμίας) . Σε αυτή την περίπτωση δεν δημιουργείται μαγνητικό πεδίο και οι επαφές του ηλεκτρονόμου βρίσκονται στην αρχική τους θέση . Αντίθετα όταν το πηνίο του ηλεκτρονόμου διαρρέεται από ρεύμα ο ηλεκτρονόμος είναι διεγερμένος (κατάσταση εργασίας) . Σε αυτή την περίπτωση δημιουργείται μαγνητικό πεδίο το οποίο έλκει τον οπλισμό του ηλεκτρονόμου και μαζί τις επαφές του με αποτέλεσμα οι ανοικτές να κλείσουν και οι κλειστές να ανοίξουν . Όταν πάψει να διαρρέεται ο ηλεκτρονόμος από ηλεκτρικό ρεύμα τότε παύει να ισχύει η μαγνητική δύναμη του μαγνητικού πεδίου με αποτέλεσμα να επανέρχεται ο οπλισμός με τις επαφές του στην αρχική του θέση. 1.4 . Κατηγορίες ηλεκτρονόμων Οι ηλεκτρονόμοι χωρίζονται σε δύο κατηγορίες ανάλογα με την χρήση τους 1.5 . Ηλεκτρικές επαφές ηλεκτρονόμων ισχύος με ηλεκτρομαγνήτη 1.6 . Συμβολισμοί Ηλεκτρονόμων 1.7 . Επιλογή Η/Ν με ηλεκτρομαγνήτη Τα χαρακτηριστικά που παίζουν ρόλο στην επιλογή του κατάλληλου ηλεκτρονόμου είναι : ονομαστική τάση τροφοδοσίας του κυκλώματος ισχύος ονομαστική τάση λειτουργίας του πηνίου είδος και πλήθος βοηθητικών επαφών ΠΡΟΣΟΧΗ : Το κύκλωμα του πηνίου του ηλεκτρονόμου είναι τελείως ανεξάρτητο από το κύκλωμα των επαφών του - δεν συνδέονται ηλεκτρικά Σημείωση : Υπάρχουν ηλεκτρονόμοι με πηνίο που λειτουργούν με συνεχές ρεύμα και ηλεκτρονόμοι με πηνίο που λειτουργεί με εναλλασσόμενο ρεύμα . Επίσης υπάρχουν ηλεκτρονόμοι διαφόρων τάσεων εφαρμογής στο πηνίο τους . Σημείωση : Οι ηλεκτρονόμοι ονομάζονται επίσης ρελαί ή τηλεχειριζόμενοι διακόπτες αέρος . 2. ΜΠΟΥΤΟΝΣ Οι χειροκίνητοι διακόπτες στιγμιαίας ενεργοποίησης (μπουτόνς) χρησιμοποιούνται στα συστήματα αυτοματισμού για τον χειρισμό μηχανημάτων .Έχουν επαφές οι οποίες αλλάζουν κατάσταση για όσο χρονικό διάστημα ασκείται εξωτερική δύναμη στο μηχανισμό τους . Οι επαφές των μπουτόνς διακρίνονται σε : Τα μπουτόνς με μια κανονικά κλειστή επαφή ονομάζονται μπουτόνς stop ενώ τα μπουτόνς με μια κανονικά ανοικτή επαφή ονομάζονται μπουτόνς start Τα μπουτόνς χαρακτηρίζονται με το γράμμα S . Οι επαφές τους έχουν σχετικά μικρή αντοχή σε ρεύμα (περίπου 5 Α) Συνήθως τα μπουτόνς χρώματος πράσινου χρησιμοποιούνται ως start ενώ τα μπουτόνς χρώματος κόκκινου χρησιμοποιούνται ως stop . 3 ΛΥΧΝΙΕΣ ΕΝΔΕΙΞΗΣ Οι ενδεικτικές λυχνίες χρησιμοποιούνται στα συστήματα αυτοματισμού για την ένδειξη της κατάστασης λειτουργίας τους . Τα πιο συνηθισμένα χρώματα ενδεικτικών λυχνιών είναι το κόκκινο και το πράσινο 4.ΘΕΡΜΙΚΑ 4.1. Γενικά Υπερφόρτιση ενός κινητήρα συμβαίνει όταν ο κινητήρας απορροφήσει από το δίκτυο τροφοδοσίας μεγαλύτερο ρεύμα από το ονομαστικό του για κάποιο χρονικό διάστημα . Αυτό μπορεί να συμβεί σε ένα κινητήρα στις ακόλουθες περιπτώσεις : Η ισχύς που απορροφάει ο κινητήρας είναι μεγαλύτερη από την ονομαστική του ισχύ . Ο κινητήρας τροφοδοτείται από τις δύο από τις τρεις φάσεις (για τριφασικό κινητήρα ) . Η τάση του δικτύου τροφοδοσίας είναι μικρότερη από την ονομαστική τάση του κινητήρα . Μπλοκάρει ο άξονας του κινητήρα . Σε περίπτωση υπερφόρτισης του κινητήρα υπερθερμαίνονται τα τυλίγματα , οι μονώσεις και γενικά ο κινητήρας με αποτέλεσμα την καταστροφή του . Γι’αυτό τον λόγο χρησιμοποιούμε διατάξεις , για την προστασία των κινητήρων από υπερφορτίσεις . Η πιο συνηθισμένη διάταξη για την προστασία ενός κινητήρα από υπερφόρτιση είναι οι θερμικοί ηλεκτρονόμοι υπερφόρτισης με διμεταλλικά στοιχεία (θερμικά) . Περιλαμβάνουν τρεις κύριες επαφές (1-2 , 3-4 , 5-6 ή L1-T1 , L2-T2 , L3-T3) οι οποίες συνδέονται σε σειρά με τον κινητήρα που θέλουμε να προστατεύσουμε (άρα διαρρέονται με το ρεύμα του κινητήρα) , και δύο βοηθητικές επαφές , μία κανονικά κλειστή (95-96) και μία κανονικά ανοικτή (97-98) Σημείωση: Σε παλαιότερες κατασκευές θερμικών υπερφόρτισης υπήρχε μια μεταγωγική βοηθητική επαφή 95-96/98 . Όταν ο μηχανισμός ενεργοποίησης του μηχανισμού των βοηθητικών επαφών είναι σε κατάσταση ηρεμίας τότε η μεταγωγική επαφή βρίσκεται στη θέση 95-96 , ενώ όταν ο μηχανισμός των βοηθητικών επαφών είναι σε κατάσταση ενεργοποίησης τότε η μεταγωγική επαφή βρίσκεται στη θέση 95-98 Προσοχή: Το ηλεκτρικό κύκλωμα του θερμικού αποτελείται από δύο ξεχωριστά ηλεκτρικά κυκλώματα : α) το ηλεκτρικό κύκλωμα των κύριων επαφών και β) το ηλεκτρικό κύκλωμα των βοηθητικών επαφών. 4.2 Συμβολισμός Θερμικού 4.3 Λειτουργία θερμικού Το τριφασικό ρεύμα του κινητήρα περνάει μέσα από τρία διμεταλλικά ελάσματα , που καταλήγουν στις κύριες επαφές του θερμικού , τα οποία λόγω της θερμότητας που αναπτύσσεται κάμπτονται με αποτέλεσμα να ασκούν δύναμη σε ένα μηχανισμό ενεργοποίησης των βοηθητικών επαφών . Εάν το ηλεκτρικό ρεύμα είναι αρκετά μεγάλο τότε και η δύναμη που ασκούν τα διμεταλλικά ελάσματα είναι μεγάλη με αποτέλεσμα να αλλάζει η κατάσταση των βοηθητικών επαφών . Άρα η κανονικά ανοικτή επαφή (που τροφοδοτεί το πηνίο του ηλεκτρονόμου) ανοίγει με αποτέλεσμα την αποδιέγερση του ηλεκτρονόμου . Έτσι οι κύριες επαφές του ηλεκτρονόμου ανοίγουν και σταματάει η τροφοδοσία του κινητήρα . Ταυτόχρονα η κανονικά ανοικτή επαφή του θερμικού κλείνει με αποτέλεσμα την τροφοδότηση μιας ενδεικτικής λυχνίας ή ενός συναγερμού που προειδοποιεί για υπερφόρτιση του κινητήρα . Όταν σταματήσει η διέλευση ηλεκτρικού ρεύματος από τα διμεταλλικά ελάσματα του θερμικού τότε αυτά ψύχονται με αποτέλεσμα να επανέρχονται στην αρχική τους θέση . Έτσι παύουν να ασκούν δύναμη στον μηχανισμό των βοηθητικών επαφών . Παρόλα αυτά οι βοηθητικές επαφές δεν επανέρχονται στην αρχική τους κατάσταση παρά μόνο εάν πιέσουμε ένα εξωτερικό μπουτόν επαναφοράς . Σημείωση : Ο χρόνος ενεργοποίησης των βοηθητικών επαφών του θερμικού εξαρτάται α) από το μέγεθος του ρεύματος , β) από την προηγούμενη κατάσταση των διμεταλλικών ελασμάτων (θερμή ή ψυχρή) . Προσοχή : Το εξωτερικό μπουτόν επαναφοράς το πιέζουμε μόνο αφού κρυώσουν τα διμεταλλικά ελάσματα διαφορετικά ο μηχανισμός του θερμικού δεν επιτρέπει στις βοηθητικές επαφές να επανέρθουν στην αρχική τους κατάσταση . 4.4.Παρατηρήσεις Σε περίπτωση που δεν τροφοδοτηθούν και τα τρία διμεταλλικά ελάσματα του θερμικού τότε η κάμψη τους θα είναι ανομοιόμορφη με αποτέλεσμα η απενεργοποίηση των βοηθητικών επαφών να πραγματοποιείται εσφαλμένα Επίσης σε κινητήρες που πραγματοποιούν συχνές εκκινήσεις (περισσότερες από 25 ανά ώρα) τα διμεταλλικά ελάσματα δεν προλαβαίνουν να κρυώσουν μεταξύ διαδοχικών εκκινήσεων με αποτέλεσμα να ενεργοποιείται ο μηχανισμός των βοηθητικών επαφών εσφαλμένα. Τέλος όταν η εκκίνηση ενός κινητήρα πραγματοποιείται σε χρόνο μεγαλύτερο των 10 sec (δύσκολες εκκινήσεις) το υψηλό ρεύμα εκκίνησης έχει ως αποτέλεσμα την ενεργοποίηση του μηχανισμού των βοηθητικών επαφών του θερμικού χωρίς ουσιαστικό λόγο . Γι’αυτό στις δύσκολες εκκινήσεις κινητήρων δεν χρησιμοποιούμε θερμικά για την προστασία τους αλλά άλλες διατάξεις. Προτάσεις για Περαιτέρω Διάβασμα Ζούλης, Ν., Καφφετζάκης, Π., Σούλτης, Γ. () “υστήματα Αυτοματισμών Β ΕΠΑ.Λ. ΤΟΜΕΑΣ ΗΛΕΚΤΡΟΛΟΓΙΑΣ, ΗΛΕΚΤΡΟΝΙΚΗΣ ΚΑΙ ΑΥΤΟΜΑΤΙΣΜΟΥ Αθήνα: ΙΝΣΤΙΤΟΥΤΟ ΤΕΧΝΟΛΟΓΙΑΣ ΥΠΟΛΟΓΙΣΤΩΝ ΚΑΙ ΕΚΔΟΣΕΩΝ «ΔΙΟΦΑΝΤΟΣ» σελ. 88-105, 106-110, 122-131
ΤΟΜΕΑΣ ΗΛΕΚΤΡΟΛΟΓΙΑΣ, ΗΛΕΚΤΡΟΝΙΚΗΣ ΚΑΙ ΑΥΤΟΜΑΤΙΣΜΟΥ                                                                                                                       1o ΕΠΑΛ ΑΜΑΡΟΥΣΙΟΥ ΤΕΧΝΙΚΟΣ ΗΛΕΚΤΡΟΛΟΓΙΚΩΝ ΣΥΣΤΗΜΑΤΩΝ, ΕΓΚΑΤΑΣΤΑΣΕΩΝ ΚΑΙ ΔΙΚΤΥΩΝ                                                                                                 3ο ΕΚ Β ΑΘΗΝΑΣ (ΑΜΑΡΟΥΣΙΟΥ)
ΕΡΓΑΣΤΗΡΙΟ ΗΛΕΚΤΡΙΚΩΝ ΑΥΤΟΜΑΤΙΣΜΩΝ