Μηχανές Συνεχούς Ρεύματος
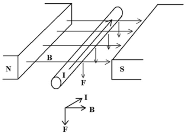
1. ΑΡΧΗ ΛΕΙΤΟΥΡΓΙΑΣ ΓΕΝΝΗΤΡΙΩΝ ΚΑΙ ΚΙΝΗΤΗΡΩΝ Σ.Ρ. 1.1 . ΑΡΧΗ ΛΕΙΤΟΥΡΓΙΑΣ ΓΕΝΝΗΤΡΙΩΝ Σ.Ρ. Η λειτουργία της γεννήτριας βασίζεται στο φαινόμενο της δημιουργίας ηλεκτρομαγνητικής δύναμης από επαγωγή ΗΕΔ (Ε) στα άκρα ενός ευθύγραμμου αγωγού, που κινείται μέσα σε ομογενές μαγνητικό πεδίο. Στις δύο παραπάνω περιπτώσεις το μήκος του αγωγού βρίσκεται κάθετα στις δυναμικές γραμμές (κατά συνέπεια και στην μαγνητική επαγωγή ) ,του μαγνητικού πεδίου . Ταυτόχρονα το διάνυσμα της ταχύτητας (u) , που κινείται ο αγωγός βρίσκεται κάθετα με την μαγνητικής επαγωγής (Β) μαγνητικού πεδίου. Το μέτρο της παραγόμενης ηλεκτρεγερτικής δύναμης από επαγωγή ΗΕΔ (Ε) είναι: Ε=B l u ημα Όπου : B: Η ένταση του μαγνητικού πεδίου ή μαγνητική επαγωγή (σε Tesla) u: Η ταχύτητα κίνησης του αγωγού (σε m/sec) l: Το ενεργό μήκος του ρευματοφόρου αγωγού (σε m) α: Η γωνία που σχηματίζουν οι διευθύνσεις της κατεύθυνσης της κίνησης και η ένταση του μαγνητικού πεδίου Ε: Η ηλεκτρεγερτικής δύναμης από επαγωγή ΗΕΔ (σε V) . Η διεύθυνση της παραγόμενης ηλεκτρεγερτικής δύναμης είναι η διεύθυνση του άξονα του αγωγού - έχει διεύθυνση κάθετη στο επίπεδο που σχηματίζει το διάνυσμα της έντασης του μαγνητικού πεδίου και η ταχύτητα κίνησης του αγωγού . Η φορά της παραγόμενης ηλεκτρεγερτικής δύναμης καθορίζεται με πρακτικό τρόπο με την βοήθεια του κανόνα του δεξιού χεριού Ο αντίχειρας , «δείχνει» , την ταχύτητα κίνησης του αγωγού Ο δείκτης , «δείχνει» , την ένταση του μαγνητικού πεδίου Ο μέσος , «δείχνει» , την ΗΕΔ από επαγωγή στα άκρα του αγωγού Για να δημιουργηθεί επαγωγική τάση στα άκρα ενός αγωγού, θα πρέπει να υπάρχει σχετική κίνηση μεταξύ αγωγού και μαγνητικού πεδίου - να κινείται ο αγωγός μέσα σε ακίνητο μαγνητικό πεδίο ή να είναι ακίνητος ο αγωγός μέσα σε κινούμενο μαγνητικό πεδίο. Αυτή η αρχή ισχύει κάθε φορά που αναπτύσσεται επαγωγική τάση με τη διαφορά ότι σε άλλες περιπτώσεις κινούνται οι αγωγοί της γεννήτριας μέσα στο ακίνητο μαγνητικό πεδίο και σε άλλες περιπτώσεις οι αγωγοί είναι ακίνητοι μέσα σε κινούμενο μαγνητικό πεδίο. 1.2. Μέγιστη και Ελάχιστη τιμή ΗΕΔ Αν δώσουμε διάφορες τιμές στη γωνία (α) ώστε να δούμε τι τιμές παίρνει η ηλεκτρεγερτική δύναμη Ε : Ας παρατηρήσουμε τα αποτελέσματα που φαίνονται στον παραπάνω πίνακα: Για ποιες τιμές της γωνίας α μηδενίζεται η ηλεκτρεγερτική δύναμη και για ποιες τιμές γίνεται απόλυτα μέγιστη (είτε θετική είτε αρνητική); Φαίνεται ότι στις 0 ο και στις 180 ο η ηλεκτρεγερτική δύναμη μηδενίζεται. Σε όλες τις υπόλοιπες γωνίες η ηλεκτρεγερτική δύναμη κυμαίνεται μεταξύ μιας μέγιστης θετικής (Εmax) και μιας μέγιστης αρνητικής τιμής (-Emax) χωρίς όμως να μηδενίζεται - βάλτε τυχαίες τιμές στη γωνία α για να επιβεβαιώσετε το συμπέρασμα. Άρα, για να αναπτυχθεί επαγωγική τάση, δεν αρκεί να υπάρχει σχετική κίνηση μεταξύ αγωγού και μαγνητικού πεδίου αλλά θα πρέπει και αυτή η σχετική κίνηση να μην είναι προς την ίδια διεύθυνση (α=0 ο ή α=180 ο ) Τι θα συμβεί αν, τελικά, αντί για ένα στρεφόμενο πλαίσιο βάλουμε περισσότερα - π.χ. τέσσερα κάθετα μεταξύ τους; Παρατηρούμε ότι η τάση που μας δίνει η γεννήτρια είναι βελτιωμένη - πιο κοντά στη συνεχή μορφή Και τι θα γίνει αν τοποθετήσουμε στον δρομέα της γεννήτριας εκατοντάδες τυλίγματα, όπως συμβαίνει στην πραγματικότητα; Προφανώς, όσο περισσότερα τυλίγματα τοποθετούμε, τόσο καλύτερη συνεχή τάση παράγει. Αν όμως τοποθετήσουμε περισσότερα τυλίγματα στη μηχανή, δεν θα πρέπει να αυξηθεί και ο αριθμός των τομέων του συλλέκτη; Αφού τα τυλίγματα θα πρέπει να συνδέονται με διαφορετικούς τομείς. 1.3 . ΑΡΧΗ ΛΕΙΤΟΥΡΓΙΑΣ ΚΙΝΗΤΗΡΩΝ Σ . Ρ Η λειτουργία του ηλεκτρικού κινητήρας στηρίζεται στο φαινόμενο της εμφάνισης δύναμης ασκούμενης σε ρευματοφόρο αγωγό, μέσα σε μαγνητικό πεδίο. Γνωρίζουμε ότι όταν ένας αγωγός που διαρρέεται από ρεύμα, τοποθετείται μέσα σε ομογενές μαγνητικό πεδίο, τότε ασκείται σ’αυτόν μια δύναμη F που ονομάζεται δύναμη LAPLACE . Το Mέτρο της παραπάνω δύναμης δίνεται από την μαθηματική σχέση F=B I l ημα Όπου : B: Η ένταση του μαγνητικού πεδίου ή μαγνητική επαγωγή (σε Tesla) I: Η ένταση του ρεύματος που διαρρέει τον αγωγό (σε Α) l: Το ενεργό μήκος του ρευματοφόρου αγωγού (σε m) α: Η γωνία που σχηματίζει η διεύθυνση του αγωγού (ένταση του ρεύματος) και η ένταση του μαγνητικού πεδίου . F: Η δύναμη LAPLACE (σε Newton - N) H Διεύθυνση της δύναμης LAPLACE , είναι κάθετη στο επίπεδο που σχηματίζει ο ρευματοφόρος αγωγός με τις μαγνητικές γραμμές του πεδίου Η Φορά , καθορίζεται με πρακτικό τρόπο με την βοήθεια του κανόνα του δεξιού χεριού Πιο συγκεκριμένα : Ο μέσος, «δείχνει» , την ασκούμενη δύναμη LAPLACE Ο δείκτης , «δείχνει» , την ένταση του μαγνητικού πεδίου Ο αντίχειρας , «δείχνει» , την ένταση του ρεύματος που διαρρέει τον αγωγό Για να δημιουργηθεί δύναμη Laplace θα πρέπει ρευματοφόρος αγωγός να βρίσκεται μέσα σε μαγνητικό πεδίο 1.4. Μέγιστη και Ελάχιστη τιμή Δύναμης LAPLACE Αν δώσουμε διάφορες τιμές στη γωνία (α) ώστε να δούμε τι τιμές παίρνει η δύναμη Laplace : Ας παρατηρήσουμε τα αποτελέσματα που φαίνονται στον παραπάνω πίνακα: Για ποιες τιμές της γωνίας α μηδενίζεται η δύναμη Laplace και για ποιες τιμές γίνεται απόλυτα μέγιστη (είτε θετική είτε αρνητική); Φαίνεται ότι στις 0 ο και στις 180 ο η δύναμη Laplace μηδενίζεται. Σε όλες τις υπόλοιπες γωνίες η δύναμη Laplace κυμαίνεται μεταξύ μιας μέγιστης θετικής (Fmax) και μιας μέγιστης αρνητικής τιμής (-Fmax) χωρίς όμως να μηδενίζεται - βάλτε τυχαίες τιμές στη γωνία α για να επιβεβαιώσετε το συμπέρασμα. Άρα, για να αναπτυχθεί δύναμη Laplace, δεν αρκεί να βρίσκεται ρευματοφόρος αγωγός μέσα σε μαγνητικό πεδίο, αλλά θα πρέπει και η φορά του ρεύματος να μη έχει την ίδια διεύθυνση με τη φορά του μαγνητικού πεδίου (α=0 ο ή α=180 ο ) Ένας αγωγός μήκους l = 2 m κινείται μέσα σε μαγνητικό πεδίο επαγωγής Β=10 Τ με ταχύτητα U=10m/sec . Να υπολογίσετε την επαγωγική τάση που θα δημιουργηθεί στα άκρα του ρευματοφόρου αγωγού για κάθε μία από τις ακόλουθες περιπτώσεις : α . Ο αγωγός κινείται κάθετα στο μαγνητικό πεδίο β . Ο αγωγός κινείται παράλληλα στο μαγνητικό πεδίο . γ . Ο αγωγός κινείται σχηματίζοντας γωνία 45ο με το μαγνητικό πεδίο . Ε=200 V , Ε=0 V , Ε=141,4 V Aγωγός μήκους l=1m και αντίστασης R=1 Ω κινείται κάθετα στις μαγνητικές γραμμές μαγνητικού πεδίου Β=10Τ με ταχύτητα U=2m/sec . Ποια δύναμη θα ασκηθεί στον αγωγό από το μαγνητικό πεδίο . F=200N Ένας αγωγός μήκους l = 2 m διαρρέεται από ηλεκτρικό ρεύμα έντασης Ι=1 Α και τοποθετείται μέσα σε μαγνητικό πεδίο επαγωγής Β=10 Τ . Να υπολογίσετε την δύναμη που θα ασκηθεί στον ρευματοφόρο αγωγό από το μαγνητικό πεδίο για κάθε μία από τις ακόλουθες περιπτώσεις : α . Ο αγωγός είναι κάθετος στο μαγνητικό πεδίο . β . Ο αγωγός είναι παράλληλος στο μαγνητικό πεδίο . γ . Ο αγωγός σχηματίζει γωνία 45ο με το μαγνητικό πεδίο . F=20N , F=0N , F=14,14N Ένας αγωγός μήκους l διαρρέεται από ηλεκτρικό ρεύμα έντασης Ι και τοποθετείται μέσα σε μαγνητικό πεδίο επαγωγής Β . Αν το μαγνητικό πεδίο ασκεί στον αγωγό δύναμη F=10 Nt , να υπολογίσετε την δύναμη που θα ασκεί το μαγνητικό πεδίο στον αγωγό αν διπλασιαστεί η μαγνητική επαγωγή .Ποια αλλαγή θα πρέπει να συμβεί στο μήκος του αγωγού ώστε να ασκηθεί ξανά δύναμη στον αγωγό ίση με F=10Nt . F=20N , l΄=l/2 2. ΚΑΤΑΣΚΕΥΑΣΤΙΚΑ ΣΤΟΙΧΕΙΑ ΜΗΧΑΝΩΝ ΣΥΝΕΧΟΥΣ ΡΕΥΜΑΤΟΣ Μια μηχανή συνεχούς ρεύματος, όπως και κάθε ηλεκτρική μηχανή, αποτελείται από το στρεφόμενο τμήμα, το οποίο ονομάζεται δρομέας και το ακίνητο τμήμα που ονομάζεται στάτης. 2.1 Ο δρομέας περιλαμβάνει τα ακόλουθα μέρη : Τον άξονα επάνω στον οποίο τοποθετούνται το επαγωγικό τύμπανο , ο συλλέκτης και ο ανεμιστήρας . Ο πυρήνας του επαγωγικού τυμπάνου αποτελεί τον δρόμο για να κινηθούν οι μαγνητικές γραμμές των πόλων . Κατασκευάζεται από πολλά ελάσματα σιδήρου με σκοπό την μείωση των δινορευμάτων . Επάνω του τοποθετείται το τύλιγμα του επαγωγικού τυμπάνου το οποίο κατασκευάζεται απομονωμένο χάλκινο αγωγό . Οι αγωγοί συνδέονται στον συλλέκτη που αποτελείται από χάλκινα ελάσματα τους τομείς .Μεταξύ τους οι τομείς του συλλέκτη είναι μονωμένοι για να αποφεύγονται τα βραχυκυκλώματα συλλέκτης χρησιμοποιείται για να παίρνει το ρεύμα από την εξωτερική πηγή (περίπτωση κινητήρα ) ή για να δίνει το ρεύμα στο φορτίο (περίπτωση γεννήτριας) . Η ψύξη της μηχανής γίνεται με τον ανεμιστήρα ο οποίος στερεώνεται στον άξονα και περιστρέφεται με αυτόν . Τέλος σε μηχανές μεγάλης ισχύος υπάρχει η πλήμνη που αποτελεί μέρος της ψύξης της μηχανής . Αποτελεί συστατικό της πτερωτής και είναι το μέρος της γεννήτριας πάνω στο οποίο προσαρμόζονται τα πτερύγια. 2.2 Ο στάτης περιλαμβάνει τα ακόλουθα μέρη : Το ζύγωμα, με κυλινδρικό σχήμα, αποτελεί τον κορμό της μηχανής. Το ζύγωμα στηρίζεται στο κέλυφος και κατασκευάζεται συνήθως από χάλυβα. Πάνω στο ζύγωμα τοποθετούνται οι μαγνητικοί πόλοι. Οι κύριοι πόλοι είναι αυτοί που δημιουργούν το μαγνητικό πεδίο της μηχανής και αποτελούνται από τον πυρήνα και το πέδιλο. Πέδιλο ονομάζεται το ειδικά διαμορφωμένο άκρο των πόλων στην πλευρά του δρομέα, το οποίο έχει ως σκοπό τη δημιουργία ομοιόμορφου πεδίου στο διάκενο , μεταξύ των πόλων και της επιφάνειας του δρομέα. Οι κύριοι πόλοι κατασκευάζονται αποκλειστικά από ελάσματα για τη μείωση των απωλειών από τα δινορεύματα. Τα δινορεύματα προκαλούνται από τις διακυμάνσεις της ροής στους πόλους, καθώς η επιφάνεια του δρομέα εξαιτίας των αυλακώσεων της δεν είναι ομοιόμορφη. Στους κύριους πόλους τυλίγονται τα πηνία του τυλίγματος των πόλων που ονομάζονται και τύλιγμα διέγερσης. Τα επιμέρους πηνία κάθε κύριου πόλου συνδέονται μεταξύ τους, σχηματίζοντας έτσι το τύλιγμα διέγερσης με δύο άκρα. Το τύλιγμα διέγερσης διαρρέετε από συνεχές ρεύμα, προκαλώντας το κύριο μαγνητικό πεδίο της μηχανής. Οι ψήκτρες είναι κατασκευασμένες από άνθρακα, ή από μείγμα άνθρακα και γραφίτη. Διαθέτουν μεγάλη αγωγιμότητα και είναι πολύ πιο μαλακές από τους τομείς του συλλέκτη, έτσι ώστε ο συλλέκτης να φθείρεται ελάχιστα. Οι ψήκτρες είναι τοποθετημένες μέσα στις ψηκτροθήκες και πιέζονται στο συλλέκτη από ελατήρια που βρίσκονται στις ψηκτροθήκες. Η πίεση που ασκούν οι ψήκτρες στο συλλέκτη πρέπει να επιλέγεται με ακρίβεια. Αν η πίεση είναι πολύ μεγάλη η φθορά των ψηκτρών αλλά και του συλλέκτη είναι αυξημένη. Αν η πίεση είναι μικρή, οι ψήκτρες δεν διατηρούν συνεχώς την επαφή τους με το συλλέκτη, με αποτέλεσμα τη δημιουργία σπινθηρισμών, με καταστροφικά αποτελέσματα και για τα δύο μέρη. 3) ΤΥΛΙΓΜΑΤΑ ΜΗΧΑΝΩΝ Σ.Ρ. 3.1 . Τύλιγμα Επαγωγικού Τυμπάνου Το δυσκολότερο τµήµα στην κατασκευή µιας µηχανής συνεχούς ρεύµατος, είναι η υλοποίηση του τυλίγµατος του δροµέα Στις µηχανές Σ.Ρ. το τύλιγµα του δροµέα αποτελείται από ένα µεγάλο αριθµό ανεξάρτητων πλαισίων, τα οποία ονοµάζονται ομάδες . Κάθε ομάδα έχει ένα καθορισμένο αριθµό σπειρών . Οι ομάδες διαμορφώνονται στην επιθυμητή μορφή σε ειδικά καλούπια και στη συνέχεια τοποθετούνται στις αυλακώσεις του επαγωγικού τυµπάνου. Τα άκρα των ομάδων συνδέονται µεταξύ τους µε διάφορους τρόπους, µέσω των τομέων του συλλέκτη, σχηματίζοντας το τύλιγµα του οπλισμού (δροµέα). Ανάλογα µε τον τρόπο σύνδεσης των ομάδων στους τομείς του συλλέκτη, τα τυλίγµατα του δροµέα διακρίνονται σε βροχοτυλίγµατα, κυµατοτυλίγµατα και το συνδυασµό τους που ονομάζεται μικτό τύλιγµα . 3.1.1 Τα βροχοτυλίγµατα Το τύλιγµα µε την απλούστερη διαδικασία κατασκευής είναι το απλό βροχοτύλιγμα. Σ’ αυτό, τα άκρα της κάθε ομάδας συνδέονται σε γειτονικούς τομείς του συλλέκτη. Το απλό βροχοτύλιγμα έχει τόσους παράλληλους κλάδους, για το ρεύµα εξόδου της µηχανής, όσοι είναι και οι πόλοι της. Ακόμη , ο αριθμός των ψηκτρών είναι ίσος µε τον αριθµό των πόλων. Οι ψήκτρες µε την ίδια πολικότητα συνδέονται αγώγιµα µεταξύ τους. Καθώς τα βροχοτυλίγµατα µπορούν να έχουν πολλούς παράλληλους κλάδους , χρησιμοποιούνται σε εφαρμογές μηχανών που χρειάζονται χαµηλή τάση και υψηλή ένταση. 3.1.2 Τα Κυµατοτυλίγµατα Στο απλό κυµατοτύλιγµα οι ομάδες συνδέονται στους τομείς του συλλέκτη µε τέτοιο τρόπο, ώστε να σχηματιστούν δύο παράλληλοι κλάδοι στο ρεύµα εξόδου της µηχανής . Έτσι, ανεξάρτητα από τον αριθµό των πόλων αρκούν δύο ψήκτρες. Τα κυµατοτυλίγµατα, επειδή οι περισσότερες ομάδες τους συνδέονται στη σειρά, είναι κατάλληλα στις µηχανές υψηλών τάσεων και χαμηλών εντάσεων. 3.1.3 Τα Μικτά Τυλίγµατα Τα μικτά τυλίγµατα προκύπτουν από το συνδυασµό ενός βροχοτυλίγµατος µ’ ένα κυµατοτύλιγµα. Χρησιμοποιούνται σε μηχανές μεσαίας τάσης και μεσαίας έντασης ρεύματος . 3.2 . Τύλιγμα Διέγερσης Το μαγνητικό πεδίο του στάτη παράγεται τροφοδοτώντας το τύλιγµα διέγερσης της µηχανής µε το συνεχές ρεύµα της διέγερσης. Σε µηχανές πολύ μικρής ισχύος, το μαγνητικό πεδίο παράγεται από µόνιµους μαγνήτες. Η μαγνητική ροή των µόνιµων µαγνητών είναι πολύ µικρότερη από εκείνη που παράγουµε µε τους ηλεκτρομαγνήτες. Ανάλογα µε την προέλευση του ρεύµατος της διέγερσης, οι γεννήτριες και γενικότερα οι µηχανές συνεχούς ρεύµατος, διακρίνονται σε δύο µεγάλες κατηγορίες: 3.2.1 Μηχανές ξένης διέγερσης όπου το ρεύµα της διέγερσης παρέχεται από µια ξεχωριστή πηγή συνεχούς τάσης. Το τύλιγµα της διέγερσης τροφοδοτείται από µια ξεχωριστή πηγή συνεχούς τάσης. Έτσι, υπάρχει η δυνατότητα ακριβούς ρύθμισης του ρεύματος διέγερσης Ιδ, άρα και της μαγνητικής ροής Φ µε αποτέλεσµα την καλή ρύθµιση της τάσης εξόδου της γεννήτριας. Η διακύµανση τάσης στις γεννήτριες ξένης διέγερσης είναι 5 -10% όταν λειτουργούν µε τις κανονικές στροφές και µε την κανονική ένταση διέγερσης. Μηχανές µε αυτοδιέγερση όπου το ρεύµα της διέγερσης παρέχεται από την ίδια την γεννήτρια. Έτσι, δεν απαιτείται πρόσθετη πηγή για την παροχή του ρεύµατος διέγερσης. Οι µηχανές µε αυτοδιέγερση διακρίνονται σε τέσσερις κατηγορίες, ανάλογα µε τον τρόπο σύνδεσης του τυλίγματος διέγερσης µε το τύλιγµα του δροµέα: 3.2.2 Μηχανές παράλληλης διέγερσης όπου το τύλιγµα διέγερσης συνδέετε παράλληλα µε το δροµέα Κατασκευάζεται από πολλές σπείρες μικρής διατομής ώστε να παρουσιάζει μεγάλη ωμική αντίσταση Η πτώση τάσης καθώς αυξάνεται το φορτίο είναι µεγαλύτερη εκείνης της ξένης διέγερσης λόγω µείωσης του ρεύµατος διέγερσης µε αποτέλεσµα η διακύµανση τάσης να είναι µεγαλύτερη. 3.2.3 Μηχανές µε διέγερση σειράς όπου το τύλιγµα διέγερσης συνδέετε σε σειρά µε το δροµέα. Κατασκευάζεται από λίγες σπείρες μεγάλης διατομής ώστε να παρουσιάζει μικρή ωμική αντίσταση . 3.2.4 Μηχανές σύνθετης διέγερσης Οι γεννήτριες σύνθετης διέγερσης διαθέτουν δύο τυλίγµατα διέγερσης, από τα οποία το ένα συνδέεται σε σειρά και το άλλο παράλληλα µε το τύλιγµα του δρομέα . Εάν η φορά σύνδεσης των δύο τυλιγµάτων είναι τέτοια ώστε τα µαγνητικά πεδία που αναπτύσσουν να προστίθενται τότε ονομάζεται γεννήτρια με υπερσύνθετη ή αθροιστική σύνθετη διέγερση . Εάν η φορά σύνδεσης των δύο τυλιγµάτων είναι τέτοια ώστε τα µαγνητικά πεδία που αναπτύσσουν να αφαιρούνται τότε ονομάζεται γεννήτρια με διαφορική σύνθετη διέγερση . Πίνακας σύγκρισης ειδών διέγερσης 3.3 . Αντίδραση του επαγωγικού τυμπάνου Όταν µια µηχανή συνεχούς ρεύµατος λειτουργεί ως γεννήτρια, στα άκρα του τυλίγµατος του δροµέα αναπτύσσεται µια τάση εξ επαγωγής. Το τύλιγµα του δροµέα δεν διαρρέετε από ρεύµα όταν η µηχανή λειτουργεί χωρίς φορτίο. Έτσι, στο εσωτερικό της µηχανής υφίσταται µόνο το µαγνητικό πεδίο που δηµιουργούν οι κύριοι πόλοι του στάτη . Όταν συνδεθεί φορτίο στα άκρα της γεννήτριας, το τύλιγµα του οπλισµού διαρρέετε από ένα ρεύµα, το οποίο είναι ανάλογο µε την ισχύ του φορτίου. Το ρεύµα αυτό προκαλεί το µαγνητικό πεδίο του δροµέα , το οποίο παραφορτώνει το αρχικό μαγνητικό πεδίο των κύριων πόλων της µηχανής. Η παραμόρφωση της μαγνητικής ροής των κύριων πόλων, από το πεδίο του επαγωγικού τυμπάνου ονομάζεται αντίδραση του επαγωγικού τυµπάνου ή αντίδραση του οπλισµού. Η αντίδραση του οπλισµού προκαλεί δύο πολύ σηµαντικά προβλήµατα στις µηχανές συνεχούς ρεύµατος. Το πρώτο είναι η µετατόπιση της ουδέτερης ζώνης και το δεύτερο η μείωση του ολικού μαγνητικού πεδίου 3.3.1 Μετατόπιση της Ουδέτερης Ζώνης Ουδέτερη ζώνη στις µηχανές συνεχούς ρεύµατος ονοµάζεται το επίπεδο, όπου η επαγόµενη τάση στο τύλιγµα του δροµέα είναι µηδέν. Στην ουδέτερη ζώνη το ολικό µαγνητικό πεδίο της µηχανής είναι µηδέν. Όταν η μηχανή δεν διαρρέεται από ρεύμα, τότε η ουδέτερη ζώνη επηρεάζεται από το μοναδικό μαγνητικό πεδίο που υπάρχει στη μηχανή, αυτό των μαγνητικών πόλων. Οπότε, κατά την αφόρτιστη λειτουργία, το μαγνητικό πεδίο μηδενίζεται σε κάποιο συγκεκριμένο επίπεδο στο οποίο και τοποθετούμε τις ψήκτρες. Όταν όμως τοποθετηθεί φορτίο στη μηχανή, τότε το επαγωγικό τύμπανο θα διαρρέεται από ρεύμα. Η ροή του ρεύµατος στο τύλιγµα του επαγωγικού τυµπάνου, προκαλεί την ανάπτυξη του µαγνητικού πεδίου του δροµέα. Το πεδίο του δροµέα παραμορφώνει το κύριο µαγνητικό πεδίο των κύριων πόλων , µε αποτέλεσµα το ολικό µαγνητικό πεδίο να µηδενίζεται σε µια θέση διαφορετική από εκείνη της αφόρτιστης λειτουργίας. Εποµένως, η ουδέτερη ζώνη έχει µετατοπιστεί από την αρχική της θέση - στις γεννήτριες μετατοπίζεται προς τη φορά περιστροφής της μηχανής ενώ στους κινητήρες αντίθετα από την φορά περιστροφής της μηχανής. Με δεδοµένη τη φορά περιστροφής της µηχανής, το ρεύµα του δροµέα στους κινητήρες έχει αντίθετη φορά από εκείνο στις γεννήτριες. Η µετατόπιση της ουδέτερης ζώνης είναι τόσο µεγαλύτερη, όσο µεγαλύτερο είναι το ρεύµα στον οπλισµό, δηλαδή όσο µεγαλύτερο είναι το φορτίο της µηχανής. Το αποτέλεσμα της μετατόπισης της ουδέτερης ζώνης είναι πλέον οι ψήκτρες να βραχυκυκλώνουν τομείς του συλλέκτη που πλέον επάγουν τάση - αφού δεν βρίσκονται πλέον στο επίπεδο της οδέτερης ζώνης - με αποτέλεσμα την ανάπτυξη σπινθηρισμών στον συλλέκτη που προκαλούν φθορά τόσο του συλλέκτη όσο και των ψηκτρών 3.3.2 Μείωση του ολικού μαγνητικού πεδίου Η µείωση του ολικού μαγνητικού πεδίου προκαλεί στις γεννήτριες τη µείωση της παραγόµενης τάσης και στους κινητήρες την αύξηση της ταχύτητας περιστροφής. Στις µηχανές και ιδιαίτερα στους κινητήρες µεγάλης ισχύος, το πρόβληµα της µείωσης του ολικού μαγνητικού πεδίου από την αντίδραση του οπλισµού είναι πολύ σηµαντικό. 3.3.3 Τρόποι αντιμετώπισης Μετατόπιση των ψηκτρών Αν οι ψήκτρες της µηχανής τοποθετηθούν στη θέση της αρχικής ουδέτερης ζώνης και η µηχανή λειτουργεί χωρίς φορτίο, τότε οι ψήκτρες θα βραχυκυκλώνουν τους τοµείς του συλλέκτη, στις οµάδες των οποίων επάγεται µηδενική τάση. Αν όμως η µηχανή φορτιστεί, η ουδέτερη ζώνη θα µετακινηθεί από την αρχική της θέση και οι ψήκτρες θα βραχυκυκλώνουν µέσω των τοµέων του συλλέκτη οµάδες, µε µη µηδενική τάση. Το αποτέλεσµα είναι η εµφάνιση σπινθηρισµών στο συλλέκτη, οι οποίοι προκαλούν τη δραστική µείωση της διάρκειας ζωής τόσο των ψηκτρών όσο και του συλλέκτη. Άρα θα πρέπει να μετακινηθούν οι ψήκτρες στη θέση της νέας ουδέτερης ζώνης ώστε να αποτραπούν οι σπινθηρισμοί. Τοποθέτηση βοηθητικών πόλων Οι βοηθητικοί πόλοι είναι µικροί πόλοι, οι οποίοι τοποθετούνται µεταξύ των κύριων πόλων, συνδέονται σε σειρά με αυτούς και δημιουργούν ένα μαγνητικό πεδίο. Το μαγνητικό πεδίο του βοηθητικού τυλίγματος πρέπει να έχει τέτοια τιμή ώστε, καταρχάς, να εξουδετερώνει το μαγνητικό πεδίο που δημιουργήθηκε στην ουδέτερη ζώνη και, κατά δεύτερον, στην περιοχή αυτή να αναπτύσσει ένα μαγνητικό πεδίο ικανό να δημιουργήσει στο υπό των ψηκτρών βραχυκυκλωμένο τύλιγμα μια τάση εξ επαγωγής, η οποία καθιστά δυνατή την ομαλή αναστροφή του ρεύματος τυμπάνου, όπως θα δούμε παρακάτω - ο ρόλος δηλαδή του βοηθητικού τυλίγματος είναι διπλός. Το µαγνητικό πεδίο των βοηθητικών πόλων επιδρά µόνο τοπικά, στις οµάδες που υφίστανται τη µεταγωγή και δεν επηρεάζει αλλιώς τη λειτουργία της µηχανής. Έτσι, οι βοηθητικοί πόλοι δεν εξαλείφουν το πρόβληµα της µείωσης της ολικής ροής. Για την εξάλειψη των σπινθηρισµών για κάθε τιµή του φορτίου, το τύλιγµα των βοηθητικών πόλων συνδέετε σε σειρά µε το τύλιγµα του δροµέα. Στην περίπτωση του κινητήρα, µε την ίδια φορά περιστροφής, οι φορές των ρευµάτων στο τύλιγµα του δροµέα είναι αντίθετες. Εποµένως, αντίθετοι είναι και οι βοηθητικοί πόλοι, οι οποίοι διαρρέονται από το ρεύµα του δροµέα. Η πολικότητα των βοηθητικών πόλων καθορίζεται ως εξής: Εάν ακολουθούμε τη φορά περιστροφής, σε μια γεννήτρια ο βοηθητικός πόλος πρέπει να έχει την αντίθετη πολικότητα εκείνης, την οποία έχει ο αμέσως προηγούμενος κύριος πόλος. Εάν η μηχανή λειτουργεί ως κινητήρας, τότε μετά από ένα κύριο πόλο ακολουθεί ένας βοηθητικός πόλος της ίδιας πολικότητας κινούμενοι κατά τη φορά περιστροφής. Μόνο πολύ μικρές μηχανές, περίπου κάτω των 500 Watt, κατασκευάζονται χωρίς βοηθητικούς πόλους Οι βοηθητικοί πόλοι εξαλείφουν αποτελεσµατικά τους σπινθηρισµούς, µε σχετικά µικρό κόστος, αλλά δεν επιδρούν στην κατανοµή του πεδίου κάτω από τους πόλους. Έτσι, δεν βελτιώνουν το πρόβληµα της µείωσης του ολικού μαγνητικού πεδίου Τύλιγμα Αντιστάθμισης Η παραμόρφωση του μαγνητικού πεδίου κάτω από τους κύριους πόλους της μηχανής μπορεί να εξουδετερωθεί εάν επί της επιφάνειας του πέλματος των κύριων πόλων δημιουργειθεί ίσο και αντίθετο μαγνητικό πεδίο με το αντίστοιχο μαγνητικό πεδίο του τυμπάνου που βρίσκεται απέναντι από κάθε πέλμα κύριου πόλου. Αυτό επιτυγχάνεται με την τοποθέτηση ενός τυλίγματος επάνω στα πέλματα, το οποίο διαρρέεται από το ρεύμα του επαγωγικού τυμπάνου, δηλαδή συνδέεται σε σειρά με το τύλιγμα του επαγωγικού τυμπάνου και λέγεται τύλιγμα αντιστάθμισης. Συνήθως το τύλιγμα αυτό αποτελείται από ράβδους, οι οποίες τοποθετούνται στις αυλακώσεις και λυγίζοντας έτσι, ώστε να σχηματίζουν σπείρες. Το µειονέκτηµα του τυλίγµατος αντιστάθµισης είναι το µεγάλο κόστος εγκατάστασής του στα πέδιλα των πόλων. Συμπέρασμα: Το τύλιγμα αντιστάθμισης αναιρεί την παραμόρφωση του μαγνητικού πεδίου κάτω από τους πόλους και οι βοηθητικοί πόλοι αναιρούν το μαγνητικό πεδίο μεταξύ των πόλων το οποίο προέρχεται από το ρεύμα του τυμπάνου. Επί πλέον οι βοηθητικοί πόλοι μαζί με το βοηθητικό τύλιγμα δημιουργούν το αναγκαίο πεδίο για τη λειτουργία της μηχανής. Μικρές μηχανές συνήθως έχουν μόνο βοηθητικούς πόλους, οι οποίοι είναι περισσότερο απαραίτητοι, και με αυτόν τον τρόπο έχουμε απλούστερη κατασκευή και μικρότερο κόστος 4. Είδη γεννητριών Σ.Ρ. και χαρακτηριστικά τους Καταρχήν θα πρέπει να διευκρινήσουμε κάποιες έννοιες: Ηλεκτρεγερτική δύναμη Ε μιας πηγής είναι η μέγιστη δυνατή τάση που μπορεί να παρέχει η πηγή μεταξύ των πόλων της - άκρα της μπαταρίας. Η τάση που τελικά παρέχει η πηγή μεταξύ των πόλων της είναι η πολική τάση U. Αν αυτή η τάση παρέχεται σε ανοικτό κύκλωμα - χωρίς φορτίο - τότε συμβολίζεται με Uo, ενώ αν παρέχεται σε κάποιο φορτίο - κλειστό κύκλωμα - τότε συμβολίζεται με U N . Η µεταβολή της τάσης µιας γεννήτριας από το µηδενικό φορτίο (Uο) µέχρι το πλήρες φορτίο (U Ν ) λέγεται διακύµανση τάσης της γεννήτριας και δίνεται από την σχέση : ε% =(Uο-U Ν )/U Ν 100% Η τάση χωρίς φορτίο είναι η επαγωγική τάση που αναπτύσσεται στα τυλίγματα του επαγωγικού τυμπάνου της: Uo = E Η τάση με φορτίο είναι η επαγωγική τάση που αναπτύσσεται στα τυλίγματα του επαγωγικού τυμπάνου της εάν αφαιρέσουμε την πτώση τάσης που δημιουργείται στα τυλίγματα της: U = E - Ι Τ R Τ Ας δούμε αναλυτικότερα ποια η διαφορά μεταξύ τάσης χωρίς φορτίο Uo και τάσης με φορτίο U N Την τάση που δημιουργεί η πηγή την ονομάζουμε ηλεκτρεγερτική δύναμη Ε Όταν δεν έχουμε φορτίο στο κύκλωμα - ανοικτό κύκλωμα - τότε το κύκλωμα δεν διαρρέεται από ρεύμα. Αφού το κύκλωμα δεν διαρρέεται από ρεύμα, δεν δημιουργείται πτώση τάσης στους αγωγούς - U αγωγών = I R αγωγών - με αποτέλεσμα ολόκληρη η τάση της πηγής Ε να εφαρμόζεται στους πόλους της δηλαδή Uo = E Όταν εφαρμοστεί φορτίο στo κύκλωμα - κλειστό κύκλωμα - τότε το κύκλωμα διαρρέεται από ρεύμα. Αφού το κύκλωμα διαρρέεται από ρεύμα, δημιουργείται πτώση τάσης στους αγωγούς - U αγωγών = I R αγωγών . Άρα πλέον στους πόλους δεν αναπτύσσεται ολόκληρη η τάση της πηγής αλλά μειωμένη κατά την πτώση τάσης στους αγωγούς δηλαδή U N = E - Uαγωγών 5. ΙΣΧΥΣ , ΑΠΩΛΕΙΕΣ ΚΑΙ ΒΑΘΜΟΣ ΑΠΟΔΟΣΗΣ ΓΕΝΝΗΤΡΙΑΣ Σ.Ρ. 5.1 Ισχύς Γεννήτριας Σ.Ρ. Η γεννήτρια παίρνει μηχανική ενέργεια και δίνει ηλεκτρική ενέργεια στις καταναλώσεις της. Κατά τη διαδικασία της μετατροπής της ισχύος, από μηχανική σε ηλεκτρική , εμφανίζονται απώλειες ισχύος. Έτσι, η ισχύς εξόδου P2 είναι πάντα μικρότερη της ισχύος εισόδου P1 , κατά την ισχύ απωλειών Pαπ δηλαδή: Ρ1=Ρ2+Ραπ Η ισχύς εισόδου (μηχανική) στις γεννήτριες Σ.Ρ. έχει ως μονάδα μέτρησης το W ή τον HP (ίππος) , όπου 1HP=736W=0,736KW . Η ισχύς εξόδου (ηλεκτρική) στις γεννήτριες Σ.Ρ. ορίζεται από την σχέση P=UI . Έχει ως μονάδα μέτρησης το W . όπου : U : η τάση που μας παρέχει η γεννήτρια Ι : η ένταση ρεύματος που παράγει η γεννήτρια Σημείωση : Ονομαστική ισχύς γεννήτριας ονομάζεται η μεγαλύτερη τιμή ισχύος που μπορεί να προσφέρει συνεχώς η γεννήτρια όταν εργάζεται με την ονομαστική τάση και την ονομαστική ένταση χωρίς να υπάρχει κίνδυνος να πάθει βλάβη η μηχανή από υπερφόρτιση. 5.2 Απώλειες Γεννήτριας Σ.Ρ. Σταθερές θεωρούνται οι απώλειες που είναι ανεξάρτητες από τη μεταβολή του φορτίου της γεννήτριας . Μεταβλητές θεωρούνται οι απώλειες που μεταβάλλονται με τη μεταβολή του φορτίου της γεννήτριας . Οι μηχανικές απώλειες εξαρτώνται από την ταχύτητα περιστροφής της γεννήτριας που συνήθως είναι σταθερή. Επειδή είναι ανεξάρτητες του φορτίου της μηχανής θεωρούνται σταθερές . Οι απώλειες υστέρησης εξαρτώνται από την ταχύτητα περιστροφής και από την μαγνητική ροή της γεννήτριας . Επειδή είναι ανεξάρτητες του φορτίου της μηχανής θεωρούνται σταθερές . Οι απώλειες δινορρευμάτων εξαρτώνται από την ταχύτητα περιστροφής και από την μαγνητική ροή της γεννήτριας . Επειδή είναι ανεξάρτητες του φορτίου της μηχανής θεωρούνται σταθερές. Οι ηλεκτρικές απώλειες εμφανίζονται στα επιμέρους ηλεκτρικά κυκλώματα των γεννητριών , δηλαδή στο τύλιγμα του επαγωγικού τυμπάνου (ορίζονται από την σχέση Ραπ,Τ=IT2×RT) και στο τύλιγμα διέγερσης (ορίζονται από την σχέση Ραπ,δ=Iδ2×Rδ). Επειδή μεταβάλλονται με την μεταβολή του φορτίου , θεωρούνται μεταβλητές . Ραπ = Pμηχ + Pμαγ + Pηλ 5.3 Βαθμός απόδοσης Γεννήτριας Σ.Ρ. Ο βαθμός απόδοσης της γεννήτριας είναι ο λόγος της ηλεκτρικής ισχύος που αποδίδει η γεννήτρια, προς την μηχανική ισχύ που αποδίδει στην γεννήτρια η κινητήρια μηχανή της. Ο βαθμός απόδοσης δεν είναι σταθερός αλλά εξαρτάται από το φορτίο της γεννήτριας . Ορίζεται από την σχέση: n=P2/P1 ×100% Λόγω της ύπαρξης απωλειών, ο βαθμός απόδοσης είναι πάντα μικρότερος της μονάδας - αφού έχουμε απώλειες τότε Ρ1>Ρ2, οπότε Ρ2/Ρ1<1 Παρατηρήσεις Οι απώλειες εμφανίζονται με την μορφή θερμότητας που προκαλεί ανύψωση της θερμοκρασίας της γεννήτριας Ο βαθμός απόδοσης δεν έχει μονάδα μέτρησης . Είναι καθαρός αριθμός Ο βαθμός απόδοσης των γεννητριών γίνεται μέγιστος όταν οι σταθερές απώλειες εξισωθούν με τις μεταβλητές Μια γεννήτρια Σ.Ρ. έχει τα ονομαστικά στοιχεία : Uον = 250 V και Ιον = 800 Α ενώ παρουσιάζει συνολικά απώλειες ισχύος : Pαπ = Pcu + PFe + PM = 20 KW . Ζητούνται να υπολογιστούν : α ) Η μηχανική ισχύς εισόδου . β ) Ο βαθμός απόδοσης της γεννήτριας . Pμηχ=220KW ή 295 ΗΡ η=91% Μια γεννήτρια Σ.Ρ. έχει τα ονομαστικά στοιχεία : Uον = 250 V και Ιον = 800 Α . Αν οι μηχανική ισχύς της γεννήτριας είναι Ρ1 = 250 ΚW , να υπολογίσετε : α ) Τις απώλειες της γεννήτριας β ) Τον βαθμό απόδοσης της γεννήτριας Ραπ=50KW, η=80% Χαρακτηριστικά παραδείγματα χρήσης γεννητριών συνεχούς ρεύματος (DC generators): Βιομηχανικές και τεχνικές εφαρμογές Ηλεκτροεπεξεργασία μετάλλων (ηλεκτρολυτική επιμετάλλωση, ηλεκτρόλυση) – απαιτούν σταθερή DC τάση Ηλεκτροσυγκόλληση – τροφοδοσία μηχανών συγκόλλησης που δουλεύουν με DC Ηλεκτροκίνηση σε εργοστάσια, γερανογέφυρες και ανυψωτικά συστήματα Συγκοινωνίες Σιδηρόδρομοι (παλαιότερα): τροφοδοσία ηλεκτρικών συστημάτων έλξης σε ατμομηχανές ή τραμ Υποβρύχια και πλοία – χρήση DC γεννητριών για συστήματα πρόωσης και βοηθητικές παροχές Εφεδρικές και ειδικές πηγές Εφεδρικές τροφοδοσίες για κρίσιμα συστήματα (π.χ. τηλεπικοινωνίες, ιατρικά μηχανήματα) Φορτιστής μπαταριών μεγάλων εγκαταστάσεων Δοκιμαστικά εργαστηρίων – παραγωγή ρυθμιζόμενης DC τάσης για έρευνα και εκπαίδευση Παραγωγή & δοκιμή εξοπλισμού Δοκιμές κινητήρων DC σε βιομηχανία Συνδυασμός με κινητήρα (motor-generator set) για μετατροπή AC σε DC 6. Κινητήρες Συνεχούς Ρεύματος ( Σ.Ρ.) 6.1 Εισαγωγή Κινητήρας συνεχούς ρεύματος ονομάζεται η ηλεκτρική μηχανή που κατά την λειτουργία της μετατρέπει την ηλεκτρική ενέργεια συνεχούς ρεύματος σε μηχανική ενέργεια. Η λειτουργία των κινητήρων στηρίζεται στην ροπή που αναπτύσσεται στον άξονα της μηχανής . Αυτό οφείλεται στο γεγονός ότι τα τυλίγματα του επαγωγικού τυμπάνου που διαρρέονται από ρεύμα βρίσκονται μέσα σε ομογενές μαγνητικό πεδίο , με αποτέλεσμα να αναπτύσσεται σε αυτά δύναμη Laplace η οποία τείνει να τα στρέψει . Η ροπή στρέψης που αναπτύσσεται στον κάθε αγωγό δίνεται από την σχέση: T = F r Όπου : r : Η απόσταση του ρευματοφόρου αγωγού από το κέντρο του τυμπάνου. Ουσιαστικά πρόκειται για την ακτίνα του επαγωγικού τυμπάνου . F : Η δύναμη Laplace που αναπτύσσεται σε κάθε ρευματοφόρο αγωγό του πλαισίου που βρίσκεται απέναντι από κάθε πόλο . Προσοχή : Το μέτρο της δύναμης Laplace, όπως ήδη έχουμε δει, δίνεται από την μαθηματική σχέση : F = B I l ημφ Πόσο εύκολο είναι όμως να υπολογίσουμε τη συνολική ροπή του κινητήρα υπολογίζοντας κάθε φορά ξεχωριστά τη ροπή κάθε αγωγού; Προφανώς κάτι τέτοιο είναι πρακτικά αδύνατο. Γιαυτό, για να υπολογίσουμε τη συνολική ροπή που αναπτύσσεται στον κινητήρα, χρησιμοποιούμε έναν εναλλακτικό τύπο: Τ=psw/2πα ΦΙ Τ Όπου : p : Είναι ο αριθμός των ζευγών των μαγνητικών πόλων της μηχανής s : Ο αριθμός των στοιχείων του τυλίγματος w: Ο αριθμός των αγωγών κάθε στοιχείου α: Ο αριθμός των ζευγών των παράλληλων κλάδων Φ: Η μαγνητική ροή κάθε μαγνητικού πόλου Ι Τ : Η ένταση του ρεύματος του επαγωγικού τυμπάνου Επειδή η ποσότητα psw/2πα εξαρτάται από τα στοιχεία της μηχανής, έπεται ότι είναι σταθερή για κάθε μηχανή και μπορεί να αντικατασταθεί από μια σταθερά Κ1. Δηλαδή η παραπάνω σχέση γίνεται T = Κ1 Φ Ι Τ 6.2. Αντιηλεκτρεγερτική δύναμη (ΑΗΕΔ) Όπως αναφέραμε και προηγουμένως, όταν τα τυλίγματα του επαγωγικού τυμπάνου διαρρέονται από ρεύμα και βρίσκονται μέσα σε ομογενές μαγνητικό πεδίο τότε αυτά περιστρέφονται διότι επάνω τους αναπτύσσεται δύναμη Laplace ( φαινόμενο κινητήρα ). Όμως αφού θα περιστραφούν τα τυλίγματα μέσα στο ομογενές μαγνητικό πεδίο τότε ηλεκτρεγερτική δύναμη ΗΕΔ θα αναπτυχθεί στα άκρα τους (φαινόμενο γεννήτριας) η πολικότητα της οποίας θα είναι αντίθετη από αυτή της τάσης που εφαρμόζουμε στην μηχανή - κανόνας του Lenz. Αυτό σημαίνει ότι η τάση που εφαρμόζουμε στην μηχανή θα πρέπει να υπερνικήσει αυτή την αντίθετη ηλεκτρεγερτική δύναμη ώστε να μπορέσει να κυκλοφορήσει ρεύμα στο εσωτερικό της. Για αυτό τον λόγο την ονομάζουμε αντιηλεκτρεγερτική δύναμη ΑΗΕΔ του κινητήρα σε αντιδιαστολή με την ηλεκτρεγερτική δύναμη ΗΕΔ της γεννήτριας Η αντιηλεκτρεγερτική δύναμη του κινητήρα ΑΗΕΔ δίνεται από την σχέση Εα = Κ Φ η Όπου : Κ : σταθερό μέγεθος για κάθε μηχανή . Φ : Η μαγνητική ροή κάθε πόλου και την μετράμε σε Vs . η : Η ταχύτητα περιστροφής και την μετράμε σε στροφές / sec . Τέλος η τάση που εφαρμόζουμε στα άκρα του κινητήρα συνδέεται με την αντιηλεκτρεγερτική δύναμη του κινητήρα μέσω της σχέσης U = Εα + I T R T Όπου : R T : Η ωμική αντίσταση του τυλίγματος του επαγωγικού τυμπάνου . I T : Η ένταση του επαγωγικού τυμπάνου . 6.3. Ταχύτητα του κινητήρα Από τις σχέσεις (Εα = Κ Φ η) και (U = Εα + I T R T ) μπορούμε να υπολογίσουμε την ταχύτητα η του κινητήρα : Εα = Κ Φ η ==> η = Εα/KΦ ==> η = (U-I Τ R T )/KΦ Παρατηρήσεις Εάν διατηρήσουμε σταθερή την τάση U και μειώσουμε το ρεύμα διέγερσης Ιδ , τότε θα μειωθεί και η μαγνητική ροή Φ με αποτέλεσμα να αυξηθεί η ταχύτητα η του κινητήρα Εάν διατηρήσουμε σταθερό το ρεύμα διέγερσης Ιδ (άρα και την μαγνητική ροή Φ ) και μειώσουμε την τάση U τότε θα μειωθεί η ταχύτητα n του κινητήρα Από τα παραπάνω συμπεραίνουμε ότι οι δύο παράγοντες που επηρεάζουν την ταχύτητα περιστροφής ενός κινητήρα είναι η τάση U που εφαρμόζουμε στα άκρα του τυλίγματος του επαγωγικού τύμπανου και η μαγνητική ροή Φ των πόλων - η οποία εξαρτάται από το ρεύμα διέγερσης Ιδ . Οι τρόποι λοιπόν που χρησιμοποιούμε για να μεταβάλουμε την ταχύτητα περιστροφής ενός κινητήρα είναι οι ακόλουθοι : α) ρυθμιστική αντίσταση στο τύλιγμα διεγέρσεως - αυτή η μέθοδος χρησιμοποιείται στους κινητήρες σύνθετης και παράλληλης διέγερσης στις οποίες η αντίσταση τοποθετείται στο παράλληλο τύλιγμα διέγερσης και αποτελεί την πιο συνηθισμένη μέθοδο ρύθμισης της ταχύτητας ενός κινητήρα β) μεταβολή της τάσεως τροφοδοτήσεως του επαγωγικού τυμπάνου - σε αυτή την περίπτωση τροφοδοτούμε τον κινητήρα με τάση που προέρχεται από γεννήτρια την οποία και μπορούμε να μεταβάλουμε . 6.4 Ρεύμα κινητήρα Το ονομαστικό ρεύμα λειτουργίας του κινητήρα μπορούμε να το υπολογίσουμε από τη σχέση I Τ = (U-Εα)/R T Πόσο όμως είναι το ρεύμα του κινητήρα τη στιγμή που ξεκινάει να περιστρέφεται - ρεύμα εκκίνησης του κινητήρα; Κατά την εκκίνηση του κινητήρα το επαγωγικό τύμπανο δεν έχει περιστραφεί με αποτέλεσμα η αντιηλεκτρεγερτική δύναμη να μην έχει προλάβει να αναπτυχθεί στα τυλίγματα του κινητήρα . Άρα σε αυτή την περίπτωση Ε = 0, με αποτέλεσμα η σχέση (U = Εα + I T R T ) να γίνεται U = IεRT ==> Iε = U/R T Αυτή η σχέση μας δίνει την τιμή του ρεύματος εκκίνησης , δηλαδή την τιμή του αρχικού ρεύματος που διαρρέει τα τυλίγματα του επαγωγικού τυμπάνου όταν αυτό δεν έχει αρχίσει ακόμα να περιστρέφεται. Συγκρίνετε την τιμή του ρεύματος κανονικής λειτουργίας Ι Τ του κινητήρα με το ρεύμα εκκίνησης Ιε του κινητήρα. Τι παρατηρείτε; Ποιο από τα δυο ρεύματα είναι μεγαλύτερο; Από τη σύγκριση των δύο σχέσεων γίνεται αντιληπτό ότι το ρεύμα εκκίνησης του κινητήρα είναι μεγαλύτερο από το ρεύμα κανονικής λειτουργίας του κινητήρα. Κατά την εκκίνηση ο κινητήρας απορροφάει 5 έως 8 φορές μεγαλύτερο ρεύμα από το ονομαστικό του. Κάτι τέτοιο προκαλεί υπερφόρτιση στον κινητήρα γεγονος που οδηγεί στην καταστροφή του - ιδίως στους κινητήρες που είναι μεγαλύτεροι από 2 HP. Με ποιον τρόπο θα μπορούσαμε να λύσουμε το πρόβλημα - δηλαδή να μειώσουμε το ρεύμα που απορροφά ο κινητήρας κατά την εκκίνηση του; Αν δηλαδή το ρεύμα εκκίνησης του κινητήρα δίνεται από τη σχέση = U/R T , πως θα μπορούσα να επέμβω στον κινητήρα ώστε να το μειώσω; Προφανώς την τάση δεν μπορώ να την ελλατώσω, οπότε καταλήγουμε στην αύξηση της αντίστασης τυμπάνου - δηλαδή προσθέτουμε σε σειρά με το τύλιγμα του επαγωγικού τυμπάνου μια αντίσταση εκκίνησης. Με αυτό τον τρόπο αυξάνω την αντίσταση του κυκλώματος του κινητήρα οπότε μειώνω το ρεύμα που το διαρρέει. Άρα κατά την εκκίνηση του κινητήρα, το ρεύμα παραμένει κοντά στο ρεύμα ονομαστικής λειτουργίας με αποτέλεσμα να μην καίγονται τα τυλίγματα του. Για πόσο χρονικό διάστημα πιστεύετε ότι θα πρέπει να παραμείνει συνδεδεμένη η αντίσταση εκκίνησης στον κινητήρα; Φανταστείτε ότι από τη στιγμή που ξεκινάει να περιστρέφεται ο κινητήρας, η ταχύτητα περιστροφής αυξάνεται. Καθώς αυξάνεται όμως η ταχύτητα περιστροφής του κινητήρα, αυξάνεται και η αντιηλεκτρεγερτική του δύναμη Εα. Άρα, σύμφωνα με τη σχέση I Τ = (U-Εα)/R T ο αριθμητής συνεχώς μειώνεται άρα συνεχώς μειώνεται και το ρεύμα του κινητήρα. Αυτή η μείωση του ρεύματος του κινητήρα θα συνεχιστεί έως ότου ο κινητήρας αποκτήσει σταθερή ταχύτητα περιστροφής, άρα και σταθερή αντιηλεκτρεγερτική δύναμη - από αυτό το σημείο και μετά ο κινητήρας λειτουργεί με ρεύμα ονομαστικής λειτουργίας Ι Τ . Το διάστημα από τη στιγμή που κινητήρας ξεκινάει να περιστρέφεται μέχρι τη στιγμή που σταθεροποιείται η ταχύτητα περιστροφής του, διαρκεί ορισμένα δευτερόλεπτα και εξαρτάται από το μέγεθος του κινητήρα - από τη ροπή αδράνειας του. Κατά τη διάρκεια αυτού του χρονικού διαστήματος, αφαιρούμε σταδιακά την αντίσταση εκκίνησης ώστε τη στιγμή που θα σταθεροποιηθεί η ταχύτητα του κινητήρα να έχει αφαιρεθεί εντελώς από το κύκλωμα του κινητήρα. 6.5 Ισχύς , απώλειες και βαθμός απόδοσης Προκειμένου να λειτουργήσει καλά μια ηλεκτρική μηχανή Σ.Ρ. , όπως και κάθε άλλη μηχανή , είναι αναγκαίο να τροφοδοτηθεί με κάποια μορφή ενέργειας προκειμένου να μας αποδώσει μια άλλη μορφή ενέργειας , δηλαδή να παράγει έργο . Ως γνωστό οι κινητήρες συνεχούς ρεύματος μετατρέπουν την ηλεκτρική ενέργεια σε μηχανική ενέργεια - στους κινητήρες η ηλεκτρική ισχύς είναι η ισχύς εισόδου (P1) ενώ η μηχανική είναι η ισχύς εξόδου της (P2) Η μηχανική ισχύς που παράγει ένας κινητήρας Σ.Ρ. δίνεται από την σχέση P2= Tα n / 9,55 Tα : Η ροπή που αναπτύσσει ο κινητήρας στην έξοδο του (Νm) n : Η ταχύτητα περιστροφής του κινητήρα (στροφές / λεπτό) Η παραπάνω τιμή ισχύος αναγράφεται πάντα στην πινακίδα του κάθε κινητήρα, ονομάζεται ονομαστική ισχύς και προκύπτει μόνο όταν κινητήρας είναι σε ΣΥΝΕΧΗ λειτουργία, με ονομαστική τάση και ονομαστική ταχύτητα περιστροφής. Επίσης η ισχύς εισόδου ενός κινητήρα Σ.Ρ. είναι ηλεκτρική και δίνεται από την σχέση P1=UI Όπου : U: Η τάση του κινητήρα I: Η ένταση του ρεύματος φορτίσεως του κινητήρα Κινητήρας ΣΡ τροφοδοτείται από τάση 230V και έχει τα ακόλουθα ονομαστικά στοιχεία : Ρον=10 ΗΡ , RΤ=1 Ω . Να υπολογίσετε : α . το ρεύμα τροφοδοσίας του κινητήρα ώστε να έχει βαθμό απόδοσης 80 % . β . την αντιηλεκτρεγερτική δύναμη που αναπτύσσεται στα τυλίγματα του κινητήρα . γ . Την αντίσταση εκκίνησης που πρέπει να εφαρμόσουμε σε σειρά με την αντίσταση τυμπάνου ώστε να έχουμε ρεύμα εκκίνησης διπλάσιο του ονομαστικού ρεύματος . Ι=40,54 Α , Eα=189,46 V , Rε=4,673 Ω 6.6 Απώλειες Εξετάζοντας τις λειτουργίες όλων των ηλεκτρικών μηχανών παρατηρούμε ότι είναι αδύνατο να επιτευχθεί η εξολοκλήρου μετατροπή της ενέργειας εισόδου σε χρήσιμη ενέργεια εξόδου . Αυτό συμβαίνει γιατί ένα ποσό της ισχύος δαπανάται κατά την μετατροπή αυτή και ονομάζεται Ισχύς Απωλειών. Από την αρχή διατήρησης της ενέργειας σε όλα τα συστήματα , ισχύει P1=P2+Pαπ 6.7 Βαθμός απόδοσης Ο βαθμός απόδοσης του κινητήρα είναι ο λόγος της ισχύος P 2 που αποδίδει αυτός προς την ισχύ P 1 που λαμβάνει για να λειτουργήσει. Συμβολίζεται με το γράμμα η και είναι αριθμός αδιάστατος, μικρότερος της μονάδας . Δηλαδή n=P2/P1 < 1 Κινητήρας ΣΡ τροφοδοτείται από τάση 230V και έχει τα ακόλουθα ονομαστικά στοιχεία : Ρον=5 ΗΡ , RΤ=1 Ω , n=0,9 . Να υπολογίσετε : α . το ρεύμα τροφοδοσίας του κινητήρα . β . την αντιηλεκτρεγερτική δύναμη που αναπτύσσεται στα τυλίγματα του κινητήρα . γ . την αντιηλεκτρεγερτική δύναμη που αναπτύσσεται στα τυλίγματα του κινητήρα όταν η ταχύτητα περιστροφής μειωθεί στο μισό της ονομαστικής . Ι=18 Α , Eα=212 V , Eα΄=106 V Κινητήρας ΣΡ παράλληλης διέγερσης 20 Ηρ, 230V όταν εργάζεται με το ονομαστικό του φορτίο και την ονομαστική του ταχύτητα έχει βαθμό απόδοσης 0,9. Να υπολογιστούν: α. Η ένταση του ρεύματος που απορροφά ο κινητήρας από το δίκτυο. β. Η ΑΗΕΔ που δημιουργείται στο επαγωγικό τύμπανο αν η αντίσταση του επαγωγικού τυμπάνου είναι 0,1Ω και η αντίσταση του παράλληλου κλάδου είναι 20Ω Ι=71,1Α , Εα=224,04V Κινητήρας ΣΡ τροφοδοτείται από τάση 230V και έχει τα ακόλουθα ονομαστικά στοιχεία : RΤ=1 Ω , n=0,9 . Να υπολογίσετε την ονομαστική ισχύ του κινητήρα σε Watt και σε ΗΡ ώστε να δημιουργείται στον κινητήρα αντιηλεκτρεγερτική δύναμη Εα=220 V . Ποια είναι η ισχύς εισόδου του κινητήρα ; Pout = 2070 Watt = 2,774 HP , Pin=2300 Watt Προτάσεις για Περαιτέρω Μελέτη Πως λειτουργεί ένας κινητήρας Συνεχούς Ρεύματος
ΤΟΜΕΑΣ ΗΛΕΚΤΡΟΛΟΓΙΑΣ, ΗΛΕΚΤΡΟΝΙΚΗΣ ΚΑΙ ΑΥΤΟΜΑΤΙΣΜΟΥ                                                                                                                       1o ΕΠΑΛ ΑΜΑΡΟΥΣΙΟΥ ΤΕΧΝΙΚΟΣ ΗΛΕΚΤΡΟΛΟΓΙΚΩΝ ΣΥΣΤΗΜΑΤΩΝ, ΕΓΚΑΤΑΣΤΑΣΕΩΝ ΚΑΙ ΔΙΚΤΥΩΝ                                                                                                 3ο ΕΚ Β ΑΘΗΝΑΣ (ΑΜΑΡΟΥΣΙΟΥ)
Σκοπός του Κεφαλαίου Όταν θα έχετε ολοκληρώσει τη μελέτη του κεφαλαίου, θα είστε σε θέση να: Γνωστικοί Στόχοι 1 . εξηγείτε την αρχή λειτουργίας των γεννητριών και των κινητήρων συνεχούς ρεύματος 2 . αναφέρετε τα μέρη από τα οποία αποτελείται μια μηχανή συνεχούς ρεύματος και τη λειτουργία καθενός από αυτά 3 . αναφέρετε τα είδη των τυλιγμάτων του επαγωγικού τυμπάνου των μηχανών συνεχούς ρεύματος και τα χαρακτηριστικά τους 4 . αναφέρετε τα είδη των μηχανών συνεχούς ρεύματος με βάση τη συνδεσμολογία του τυλίγματος διέγερσης 5 . εξηγείτε το φαινόμενο της αντίδρασης του επαγωγικού τυμπάνου, τα προβλήματα που δημιουργεί και τους τρόπους αντιμετώπισης τους 6 . εξηγείτε τις έννοιες της Διακύμανση τάσης, της Αντιηλεκτρεγερτικής Δύναμης, της Τάσης χωρίς φορτίο και με φορτίο 7 . συνδέετε μεταξύ τους την ισχύ εισόδου και εξόδου, τις απώλειες και τον βαθμού απόδοσης μιας μηχανής ΣΡ 8 . υπολογίζετε την ταχύτητα περιστροφής ενός κινητήρα ΣΡ και να εξηγούν τους τρόπους με τους οποίους μπορούμε να την μεταβάλλουμε 9 . υπολογίζετε το ρεύμα κανονικής λειτουργίας και το ρεύμα εκκίνησης του κινητήρα 1 0 . υπολογίζετε την κατάλληλη αντίσταση εκκίνησης ενός κινητήρα Συναισθηματικοί Στόχοι (Στάσεις) 11. Ανάπτυξη περιέργειας για χρήση κινητήρων DC στην καθημερινότητα 12. Συνεργασία κατά την ανάλυση καμπυλών χαρακτηριστικών Ψυχοκινητικοί Στόχοι (Δεξιότητες) 13. Σχέδιο διαγράμματος κινητήρα συνεχούς ρεύματος 14. Υπολογισμός ταχύτητας και ροπής με καμπύλες 15. Εφαρμογή κατάλληλων τύπων για την επίλυση προβλημάτων
Αρχή λειτουργίας γεννητριών συνεχούς ρεύματος (DC Generators) Βασική αρχή – Νόμος του Faraday Η λειτουργία βασίζεται στον νόμο της ηλεκτρομαγνητικής επαγωγής του Faraday: Όταν ένας αγωγός κινείται μέσα σε μαγνητικό πεδίο και κόβει τις μαγνητικές γραμμές, επάγεται στα άκρα του ηλεκτρεγερτική δύναμη (ΗΕΔ).
Δομή μιας DC γεννήτριας Στάτης : σταθερό μέρος, φέρει τα μαγνητικά πεδία (μόνιμοι μαγνήτες ή ηλεκτρομαγνήτες) Δρομέας : περιστρεφόμενο μέρος με τυλίγματα Συλλέκτης (commutator): μηχανικός ανορθωτής, μετατρέπει την εναλλασσόμενη ΗΕΔ των αγωγών σε συνεχή τάση στους ακροδέκτες Ψήκτρες (brushes): μεταφέρουν το ρεύμα από τον συλλέκτη στο εξωτερικό κύκλωμα
Πώς παράγεται το συνεχές ρεύμα Ο κινητήριος μηχανισμός (π.χ. κινητήρας, ατμοστρόβιλος, υδροστρόβιλος) περιστρέφει τον δρομέα. Οι αγωγοί του δρομέα κινούνται μέσα στο μαγνητικό πεδίο του στάτη. Σύμφωνα με τον Faraday, επάγεται ΗΕΔ στους αγωγούς η οποία είναι εναλλασσόμενης μορφής. Ο συλλέκτης με τις ψήκτρες αναστρέφει τις συνδέσεις κάθε μισή περιστροφή, ώστε η πολικότητα στους ακροδέκτες να παραμένει η ίδια --> παίρνουμε DC τάση.
Τα βροχοτυλίγματα (lap windings) είναι ένας τύπος συνδεσμολογίας των τυλιγμάτων του δρομέα σε ηλεκτρικές μηχανές συνεχούς ρεύματος, ιδιαίτερα σε γεννήτριες και κινητήρες DC. Χαρακτηριστικά Σύνδεση : Τα πηνία της άγκυρας συνδέονται έτσι ώστε οι αρχές και τα τέλη τους να “επικαλύπτονται” γύρω από την περιφέρεια, δημιουργώντας πολλές παράλληλες διαδρομές για το ρεύμα. Παράλληλες διαδρομές: Ο αριθμός των παράλληλων διαδρομών A είναι ίσος με τον αριθμό των πόλων P της μηχανής. Συλλέκτης : Κάθε πηνίο συνδέεται σε γειτονικά ελάσματα του συλλέκτη (commutator segments). Πλεονεκτήματα Κατάλληλο για μεγάλα ρεύματα και χαμηλή τάση. Μικρή αντίσταση ανά διαδρομή --> μικρές απώλειες Joule. Καλύτερη κατανομή φορτίου στις ψήκτρες. Μειονεκτήματα Δεν είναι κατάλληλο για πολύ υψηλές τάσεις αύξηση του αριθμού παράλληλων διαδρομών μειώνει την τάση κάθε διαδρομής). Περισσότερες ψήκτρες απαιτούνται (μία για κάθε παράλληλη διαδρομή ανά πόλο ).
Το γιατί μεταβάλλεται η ταχύτητα του κινητήρα μέσω της τάσης U ή του ρεύματος διέγερσης φαίνεται από τον τύπο n=(U-I Τ R T )/KΦ
Πως βγαίνει ο τύπος P2= Tα n / 9,55; Τα = F r F = P / U Άρα Tα = P r/ U Όμως U = S / t --> U = n 2 π r / 60 Τελικά = P r 60 / n 2 π r --> Τα = P 60 / n 6,28 --> Tα = P 9,55 / n --> P = Tα n / 9,55
Όταν αναφερόμαστε στην ισχύ μίας μηχανής εννοούμε ΠΑΝΤΑ την ισχύ εξόδου , δηλαδή την ισχύ που μας αποδίδει . Στην περίπτωση του κινητήρα παραπάνω ισχύς είναι μηχανική ενώ στις γεννήτριες είναι η ηλεκτρική.
Αυτή η σχέση μας (U = Εα + I T R T ) λέει, με απλά λόγια, ότι η τάση με την οποία τροφοδοτούμε έναν κινητήρα αναπτύσσεται ως αντιηλεκτριγερτική δύναμη στον κινητήρα και ως πτώση τάσης στους αγωγούς του επαγωγικού τυμπάνου
Μπορείτε να φανταστείται τι υπολογίζουμε αν πολλαπλασιάσουμε τον αριθμό των στοιχείων του τυλίγματος s με τον αριθμό των αγωγών κάθε στοιχείου w (s x w);
Τι σημαίνει ότι το ρεύμα της διέγερσης παρέχεται από την ίδια τη γεννήτρια - αυτοδιεγειρόμενες μηχανές; Οι αυτοδιεγειρόμενες μηχανές, κατασκευαστικά, έχουν έναν παραμένοντα μαγνητισμό στους πόλους τους. Όταν η γεννήτρια αρχίσει να στρέφεται από την κινητήρια µηχανή, η παραµένουσα µαγνητική ροή προκαλεί την ανάπτυξη µιας ΗΕ∆ που είναι περίπου ίση µε το 2–3% της ονοµαστικής τάσης εξόδου της γεννήτριας. Αυτή η αρχική τάση προκαλεί τη ροή ενός ρεύµατος στο τύλιγµα της διέγερσης, το οποίο αυξάνει το ήδη υπάρχον μαγνητικό πεδίο. Με την αύξηση της ροής αυξάνεται παραπέρα η ΗΕ∆, η οποία προκαλεί νέα αύξηση του ρεύµατος διέγερσης και της µαγνητικής ροής με αποτέλεσµα την ανάπτυξη της τάσης εξόδου U.
Που οφείλονται οι απώλειες υστέρησης; Θεωρούμε ότι τα υλικά έχουν στο εσωτερικό τους μαγνητικά δίπολα τα οποία, όταν δεν είναι μαγνητισμένα, δεν είναι προσανατολισμένα προς κάποια κατεύθυνση. Όταν όμως αυτά τα υλικά μαγνητιστούν τα μαγνητικά δίπολα προσανατολίζονται προς μια κατεύθυνση. Η ενέργεια που απαιτείται για τον προσανατολισμό των μαγνητικών διπόλων δημιουργεί τις απώλειες υστέρησης Που οφείλονται οι απώλειες δινορευμάτων; Το επαγωγικό τύμπανο κατασκευάζεται από σιδηρομαγνητικό υλικό. Καθώς περιστρέφεται μέσα στο μαγνητικό πεδίο των πόλων, αναπτύσσεται στην επιφάνεια του επαγωγική τάση η οποία δημιουργεί επιφανειακά ρεύματα που έχουν τη μορφή δινών. Η ενέργεια που απαιτείται για τη δημιουργία αυτών των επιφανειακών ρευμάτων δημιουργεί τις απώλειες δινορευμάτων. Οι απώλειες δινορευμάτων μειώνονται εάν το σιδηρομαγνητικό υλικό κατασκευαστεί από λεπτά ελάσματα Απώλειες υστέρησης και απώλειες δινορευμάτων = μαγνητικές απώλειες Μπορείτε να σκεφτείται κάποιον άλλο τρόπο ώστε να μειώσουμε τις απώλειες δινορευμάτων; Σκεφτείτε ότι προσπαθούμε να βρούμε έναν τρόπο να μειώσουμε τα ηλεκτρικά επαγωγικά ρεύματα που δημιουργούνται στην επιφάνεια του επγωγικού τυμπάνου. Συνεπώς θα πρέπει να σκεφτούμε κάποιον τρόπο με τον οποίο μπορούμε να μειώσουμε το ηλεκτρικό ρεύμα ενός αγωγού;
Φανταστείται επίσης μια πηγή να μην είναι ιδανική αλλά να παρουσιάζει κάποια πτώση τάσης στο εσωτερικό της - να έχει δηλαδή εσωτερική αντίσταση r. Σε αυτή την περίπτωση, στους πόλους της μπαταρίας θα εφαρμόζεται ολόκληρη η ηλεκτρεγερτική δύναμη της πηγής ή μειωμένη κατά την πτώση τάσης στην εσωτερική της αντίσταση Ιr; Με βάση όσα αναφέραμε έως τώρα, προφανώς η τάση στους πόλους της πηγή - πολική τάση πηγής - θα εφαρμόζεται μειωμένη κατά Ir σύμφωνα με τη σχέση Uo=E-Ir. Αυτό συμβαίνει στην πραγματικότητα αφού καμιά πηγή δεν είναι ιδανική. Άραγε η τάση μιας μπαταρίας που μετράμε με ένα βολτόμετρο είναι η ηλεκτρεγερτική της δύναμη ή η πολική της τάση; Μετρήστε την τάση μιας μπαταρίας όταν τοφοδοτεί κάποιο κύκλωμα και όταν δεν τροφοδοτεί κάποιο κύκλωμα. Θα βρείτε την ίδια μέτρηση; Ποια από τις δυο τιμές θα αντιστοιχεί στην ηλεκτρεγερτική τάση της μπαταρίας και ποια στην πολική της τάση; Και ποια από τις δυο τιμές είναι σταθερή και ποια μεταβάλλεται - εξαρτάται από το εκάστοτε φορτίο; Τι σημαίνει όταν λέμε ότι μια μπαταρία “πάλιωσε”; Προφανώς μειώνεται η ισχύς που μπορεί να προσφέρει σε κάποιο κύκλωμα. Αλλά γιατί συμβαίνει αυτό; Μήπως έχει κάποια σχέση με την εσωτερική της αντίσταση; Πιστεύετε ότι αυξάνεται ή μειώνεται με τον καιρό;
Πόσο εύκολη είναι, άραγε, η μετατόπιση των ψηκτρών στην ουδέτερη ζώνη; Αναλογιστείτε ότι η θέση της ουδέτερης ζώνης εξαρτάται από το εκάστοτε ρεύμα το οποίο διαρρέει το τύλιγμα του τυμπάνου. Αυτό όμως είναι σταθερό ή μεταβάλλεται ανάλογα το φορτίο; Και αν μεταβάλλεται ανάλογα με το φορτίο, τότε θα μεταβάλλεται και η θέση της ουδέτερης ζώνης. Οπότε, αν δεν έχει μια σταθερή θέση η ουδέτερη ζώνη, σε ποιο σταθερό σημείο θα πρέπει να τοποθετήσουμε τις ψήκτρες; Θα πρέπει να µετακινούνται κάθε φορά που αλλάζει το φορτίο της µηχανής. Μήπως θα πρέπει να βρούμε κάποιον άλλο τρόπο ώστε να λύσουμε το πρόβλημα που δημιουργεί η επίδραση του μαγνητικού πεδίου του τυμπάνου; Τη λύση δίνουν οι βοηθητικοί πόλοι και το τύλιγμα αντιστάθμισης
Τα κυματοτυλίγματα (wave windings) είναι ένας άλλος βασικός τύπος συνδεσμολογίας των τυλιγμάτων του δρομέα σε ηλεκτρικές μηχανές συνεχούς ρεύματος, και διαφέρουν αρκετά από τα βροχοτυλίγματα. Χαρακτηριστικά Διαδρομή αγωγών: Τα πηνία τοποθετούνται έτσι ώστε η σύνδεση τους να “διατρέχει” την περιφέρεια του δρομέα με τρόπο που μοιάζει με κύμα, εξ ου και το όνομα. Παράλληλες διαδρομές: Ο αριθμός των παράλληλων διαδρομών του ρεύματος είναι σταθερός και ίσος με 2, ανεξάρτητα από τον αριθμό των πόλων Συλλέκτης : Τα άκρα κάθε πηνίου συνδέονται σε τμήματα του συλλέκτη που απέχουν μεταξύ τους, όχι σε γειτονικά όπως στα βροχοτυλίγματα. Πλεονεκτήματα Παράγουν υψηλότερη τάση για τον ίδιο αριθμό στροφών σε σχέση με τα βροχοτυλίγματα. Κατάλληλα για χαμηλά ρεύματα και υψηλή τάση. Απαιτούν λιγότερες ψήκτρες (μόνο 2 παράλληλες διαδρομές). Μειονεκτήματα Όχι ιδανικά για πολύ μεγάλα ρεύματα (οι μόνο 2 παράλληλες διαδρομές περιορίζουν το συνολικό ρεύμα που μπορεί να περάσει). Κατασκευή πιο περίπλοκη σε σχέση με τα βροχοτυλίγματα.
Το τύλιγμα διέγερσης σε μηχανές συνεχούς ρεύματος (DC machines) είναι το τμήμα που δημιουργεί το κύριο μαγνητικό πεδίο στον στάτη, απαραίτητο για τη λειτουργία της γεννήτριας ή του κινητήρα. Βασικά στοιχεία Θέση Βρίσκεται στους κύριους πόλους του στάτη. Τυλίγεται γύρω από τον πυρήνα κάθε πόλου (συνήθως ελασματοποιημένος χάλυβας). Υλικό Αγωγός: χαλκός (λόγω υψηλής αγωγιμότητας). Μόνωση: βακελίτης, σμάλτο, υαλονήματα ή μίκα, ανάλογα με την ισχύ και τη θερμοκρασία. Λειτουργία Όταν το τύλιγμα διαρρέεται από ρεύμα, παράγεται μαγνητικό πεδίο που διασχίζει το διάκενο και τον δρομέα Το πεδίο αυτό αλληλεπιδρά με την τάση ή το ρεύμα της άγκυρας και επιτρέπει τη μετατροπή ενέργειας (μηχανική σε ηλεκτρικής. Είδη διέγερσης Ξένη διέγερση (Separately excited) Το τύλιγμα τροφοδοτείται από ξεχωριστή πηγή DC. Σταθερός και εύκολα ρυθμιζόμενος μαγνητισμός. Παράλληλη διέγερση (Shunt) Το τύλιγμα συνδέεται παράλληλα με την άγκυρα. Μικρό ρεύμα διέγερσης, σταθερή τάση. Σειριακή διέγερση (Series) Το τύλιγμα συνδέεται σε σειρά με το τύλιγμα της άγκυρας. Το ρεύμα διέγερσης εξαρτάται από το φορτίο. Σύνθετη διέγερση (Compound) Συνδυασμός παράλληλου και σειριακού τυλίγματος. Υπάρχει σε αθροιστική (cumulative) και διαφορική (differential) μορφή.
Η αντίδραση του επαγωγικού τυμπάνου (armature reaction) στις μηχανές συνεχούς ρεύματος είναι το φαινόμενο κατά το οποίο το μαγνητικό πεδίο που δημιουργεί το τύλιγμα δρομέα επηρεάζει το κύριο πεδίο που παράγεται από το τύλιγμα διέγερσης. Πώς δημιουργείται Όταν ο δρομέας διαρρέεται από ρεύμα (είτε η μηχανή λειτουργεί ως γεννήτρια είτε ως κινητήρας), οι αγωγοί της δημιουργούν δικό τους μαγνητικό πεδίο. Το πεδίο αυτό αλληλεπιδρά με το κύριο πεδίο των πόλων διέγερσης. Το αποτέλεσμα είναι στρέβλωση και μετατόπιση της μαγνητικής ροής στο διάκενο. Συνέπειες Στρέβλωση πεδίου Το επίπεδιο της μέγιστης μαγνητικής ροής μετατοπίζεται από τη γεωμετρική ουδέτερη ζώνη. Απομείωση κύριου πεδίου Σε κάποιες περιοχές, η ροή εξασθενεί (απομαγνήτιση). Ενίσχυση πεδίου Σε άλλες περιοχές, η ροή ενισχύεται (μαγνήτιση). Σπινθηρισμός στον συλλέκτη Αν οι ψήκτρες παραμένουν στη γεωμετρική ουδέτερη ζώνη ενώ η μαγνητική ουδέτερη ζώνη έχει μετατοπιστεί, προκαλείται σπινθηρισμός. Παράγοντες που την επηρεάζουν Φορτίο μηχανής (όσο μεγαλύτερο ρεύμα δρομέα, τόσο ισχυρότερη η αντίδραση). Τύπος διέγερσης (σειριακή, παράλληλη, σύνθετη). Σχεδιασμός πόλων και δρομέα (μέγεθος, αριθμός αυλακώσεων). Μέθοδοι περιορισμού Μετατόπιση ψηκτρών Ρύθμιση της θέσης των ψηκτρών ώστε να βρίσκονται στη νέα ουδέτερη ζώνη. Μικροί βοηθητικοί πόλοι τοποθετημένοι μεταξύ των κύριων πόλων, τροφοδοτούμενοι από το ρεύμα της άγκυρας. Τυλίγματα Αντιστάθμισης (Compensating windings) Τοποθετούνται στις επιφάνειες των κύριων πόλων για εξουδετέρωση του πεδίου του δρομέα
Σε γενικές γραμμές ο κανόνας του Lenz αναφέρει ότι τα επαγωγικά ρεύματα έχουν τέτοια φορά, ώστε να αντιτίθενται στο αίτιο που τα προκαλεί. Αυτό σημαίνει ότι και η επαγωγική τάση Εα πρέπει να έχει αντίθετη φορά στο αίτιο που την προκάλεσε. Το αίτιο της επαγωγικής τάσης όμως δεν είναι άλλο από την τάση U που εφαρμόζουμε στον κινητήρα. Άρα η επαγωγική τάση του κινητήρα έχει αντίθετη πολικότητα από την τάση που του εφαρμόζουμε